The history of the British bayonet goes back to the 17th century, and because of this the British bayonet is one of the more interesting types of militaria to collect. The definitive work on the subject is undoubtedly British & Commonwealth Bayonets, by Skennerton and Richardson (ISBN 0-949749-04-4, copyright 1986, published by Ian D. Skennerton, distributed in Australia by Arms & Militaria Press, PO Box 80, Labrador 4215, Australia, and in North America by Arms & Militaria Press, PO Box 5659 Grants Pass, OR 97527 USA, and by I.D.S.A. Books, P.O. Box 1457, Piqua, OH 45356 USA), from which most of the information presented here has been gratefully pilfered. Information about the cyphers has been lifted from British Enfield Rifles, Volume 1, SMLE (No. 1) Rifles Mk I and Mk III, by Charles R. Stratton (ISBN 1-882391-16-0, published by North Cape Publications, P.O. Box 1027, Tustin, CA 92781 USA).
The information on British Regimental markings is extracted from British Military Bayonets from 1700 to 1945 , by R.J. Wilkinson Latham, 1967, Hutchinson & Co. (Publishers) LTD., 178-202 Great Portland Street, London W.1.
Manufacturers and armorers stamped information on each bayonet about when and by whom it was manufactured, when and where reworked (if ever), and the like. Being able to read and interpret these markings enables the collector to ascertain some information about the weapon and possibly deduce some of its history, all of which adds to the collectibility of the piece. The following tables and diagrams illustrate the more common markings found on British and Commonwealth bayonets, organized by country.
Items in italics are updates based on personal communications.
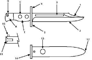
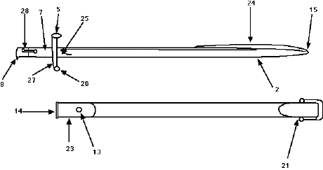
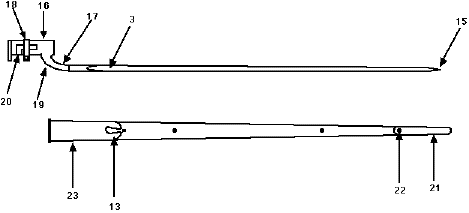
Terminology - Names of Bayonet Parts
The names of the various parts of the bayonets and associated scabbards are listed in the following table and illustrated in the following diagrams.
| Number | Name | Number | Name |
|---|---|---|---|
| 1 | False edge | 17 | Shoulder |
| 2 | True edge | 18 | Locking ring |
| 3 | Fuller or blood groove | 19 | Elbow |
| 4 | Muzzle ring | 20 | Zig-zag slot |
| 5 | Crosspiece or crossguard | 21 | Chape |
| 6 | Bolt | 22 | Rivet |
| 7 | Grip | 23 | Locket |
| 8 | Pommel | 24 | Pipe back |
| 9 | Locking bolt | 25 | Ricasso |
| 10 | Press stud | 26 | Finial |
| 11 | Mortise slot | 27 | Quillon |
| 12 | Drain hole | 28 | Locking bolt spring |
| 13 | Frog stud | 29 | Knuckle guard |
| 14 | Mouthpiece | 30 | Hilt |
| 15 | Tip or point | 31 | Wire lace |
| 16 | Socket |
Knife Bayonet
Sword Bayonet - 1
Sword Bayonet - 2
Sword Bayonet - 3
On British manufactured weapons the cypher consists of a stylized crown (the style of which changed over time) above the initials of the reigning monarch. The initials, monarch, and dates of reign are indicated in the following table.
| Initials | Monarch | Dates |
|---|---|---|
| V.R. | Victoria Regina (Queen Victoria) | 1837-1901 |
| E.R. | Edwardius Rex (King Edward VII) | 1901-1910 |
| G.R. | Georgius Rex (King George V) | 1911-1936 |
| E.R. | Edwardius Rex (King Edward VIII) | 1936 |
| G.R. | Georgius Rex (King George VI) | 1937-1952 |
On Indian manufactured weapons produced prior to about 1952, the cypher also consists of a stylized crown above the initials of the reigning monarch, but the letter "I" (for Imperator) is added to the initials. In approximately 1952 (a few years after Indian independence) the crown was changed to an Ashoka (four crouched lions) and the initials were changed to R.F.I, for Rifle Factory Ishapore. The corresponding initials under the cypher are indicated in the following table.
(The cyphers on weapons produced in India are somewhat different. I cannot be certain that the following information applies to Indian-produced bayonets (since I don't own any), but it does apply to rifles and so the information is provided here for the sake of completeness.)
| Initials | Dates |
|---|---|
| E.R.I., G.R.I | 1907-1943 |
| G.R.I. | 1944-1951 |
| R.F.I. | 1905-1970 |
The following table lists the main markings found on British-manufactured bayonets. During (and after?) World War II Great Britain stamped manufacturing codes (much like Germany did) instead of manufacturer names on weapons parts. The table below does not contain all the codes, but rather just the ones used on bayonets, as identified in Skennerton's book.
Note: World War II codes consisted of a letter ("N", "M", or "S") followed by a number. "N" stands for "North", "M" for "Midlands", and "S" for "South".
| Marking | Meaning |
|---|---|
or ![]() | Government acceptance mark |
![]() | Sale or sold out of service mark |
| '89 | Manufacture date (1889) |
| 11 17 | Manufacture date (November 1917) |
| CHAPMAN | J. Chapman; maker |
| EFD, D, or ENFIELD | Royal Arms Factory, Enfield; maker or repairer (D - post 1925) |
| J A C | J. Chapman; maker |
| MOLE | R. Mole; maker |
| RE | Remington; maker |
| SANDERSON | Sanderson Bros. & Neubold; maker |
| S & N | Sanderson & Neubold; maker |
| W | Winchester; maker |
| WILKINSON | Wilkinson Sword Company; maker |
| W.S.C. | Wilkinson Sword Company; maker |
![]() | Hopkinson; maker |
![]() | Royal Ordnance Factory, Poole |
| B. & J. S. Ltd | B. & J. Sippel Ltd. |
![]() | Vickers, Crayford; maker |
| F.F. & S. Ltd | F. Fisher & Sons, Ltd. |
| F 191 | France-British Electrical |
| H.G. | Barrow, Hepburn & Gale Ltd. |
| J.W.(S) Ld | J. Wilson Ltd. |
| S. M. | Hopkinson contract (L1A4 bayonet) |
| S.M.C. or S.M. | Singer Manufacturing Co.; maker |
![]() | Scottish Motor Traction Co. |
![]() | Cinque Port Artillery |
| V.N.S. | Viners Ltd. |
| M 1 | Accles & Pollack |
| M 44 | J.B. Brooks & Co. Ltd. |
| M 47 A | Birmingham Small Arms (B.S.A.), Small Heath; maker |
| M 53 | Camelinat Ltd. |
| M 58 | Jabez, Cliff & Co. Ltd. |
| M 78 | Elkington; maker |
| M 121 | W.J. Hill Ltd. |
| M 158 | J. Lucas Ltd. |
| M 166 | M.C.L. & Repetition Co. Ltd. |
| M 198 | Morris Springs |
| N 26 | F. Fisher & Sons, Ltd. |
| N 30 | Howard & Bullough; maker |
| N 56 | Prince-Smith & Stells; maker |
| N 64 | Sheffield Steel Products |
| N 67 | Singer Manufacturing Co.; maker |
| N 69 | London Sand Blast & Decorative Glass Works |
| N 76 | Temporal Spring Co. Ltd. |
| N 79 | Viners, Ltd.; maker |
| N 96 | Baird Engineering; maker |
| N 152 | B. & J. Sippel Ltd. |
| N 165 | Restwell Spring Co. |
| N 187 | Radcliffe; maker |
| S 7 | Auto Engineering |
| S 9 | Barrow, Hepburn & Gale Ltd. |
| S 41 | Grundy, Ltd.; maker |
| S 67 | London Sand Blast |
| S 68 | Lines Bros. Ltd. |
| S 128 | Wembley Tool Co. |
| S 158 | Bramlands Engineering |
| S 169 | Chiswell Wire Co. |
| S 191 | France-British Electrical |
| S 195 | H.E. Gibbs |
| S 200 | Gramophone Co. |
| S 201 | Grant & West Ltd. |
| S 229 | McLoughlin Machinery Ltd. |
| S 268 | Shalston Engineering |
| S 286 | Vanden Plas (Eng) 1923 Ltd. |
| S 294 | Wilkinson Sword Company; maker |
| S 356 | N.J. Edmunds Ltd. |
| S 361 | S.E. Norris & Co. |
| S 376 | Lewisham Engineering; maker |
| S 377 | Joe Thompson |
| E-M | Enfield-Martini |
| R.A.M.C. | Medical Corps |
| U.M.P. | Ulster Mounted Police |
| ONTEX | Retailer's name (commercial bayonet) |
![]() | Board of Ordnance acceptance mark |
![]() | War Department acceptance mark (discontinued in 1895, although it's been reported on examples dated 1897 as well) |
![]() | Enfield Royal Small Arms Factory (R.S.A.F.) inspection mark |
![]() | Birmingham R.S.A.F. inspection mark |
![]() | B.S.A. inspection mark |
![]() | Wilkinson inspection mark |
![]() |
Birmingham R.S.A.F. repair mark |
![]() | Solingen mark, British inspector |
![]() | Liege (Belgium) mark, British inspector |
![]() | French mark, British inspector |
![]() |
Cancellation mark |
| * | Corrosion or rust mark |
| N | Naval service |
| L | Land (Army) service |
| D.P. | Drill purpose |
![]() |
Downgraded, usually to drill purpose |
![]() | Bending mark, proof of blade |
| Marking | Meaning |
|---|---|
![]() | Department of Defense |
![]() | Department of Defense |
| A.M.C. | Army Medical Corps (New South Wales) |
| LITHGOW | Manufactured at Lithgow |
| LYSAGHT | Manufacturer |
| MA | Manufactured at Lithgow |
| MANGROVITE | MANGROVITE Belting Pty. Ltd. |
| N.S.W. | New South Wales |
| N.S.W.G. | New South Wales Government |
| OA | Manufactured at Orange |
| P.P.M.S.G. | Victorian marking (Port Phillip) |
| Q.N.C. | Queensland Naval Cadets |
| S.A. | South Australia |
| SLAZ | Slazenger (wood only) |
| V.A. | Volunteer Artillery (New South Wales) |
| V.V. | Victorian Volunteers |
| W | Waxed finish, scabbard |
| W.T. | William Tranter |
![]() | Colt (US manufacture) (but possibly not; additional research underway) |
![]() | Queensland Government |
![]() | Queensland Police |
| 1 M.D. | 1st Military District (Queensland) |
| 2 M.D. | 2nd Military District (N.S.W.) |
| 3 M.D. | 3rd Military District (Victoria) |
| 4 M.D. | 4th Military District (South Australia) |
| 5 M.D. | 5th Military District (Western Australia) |
| 6 M.D. | 6th Military District (Tasmania) |
![]() | Australian Forces, or Royal Australian Air Force (not certain) |
![]() | Early Lithgow inspection mark |
![]() | Lithgow inspection mark |
![]() | Orange inspection mark |
![]() | Government acceptance mark |
![]() | Lithgow manufacture mark |
![]() | Early Lithgow proof mark |
![]() | Early Lithgow manufacture mark, with pattern acknowledgement (1907) |
![]() |
Australian manufacture mark with pattern acknowledgement, as seen on Pattern 1907 and Owen bayonets |
![]() | Scabbard marking |
![]() | Bend test mark, proof |
| 9/47/R | Refurbished, with month & year |
| 10 '44 | Month and year of manufacture |
![]() | Sale mark |
| Marking | Meaning |
|---|---|
![]() | Canadian Government ownership mark |
![]() | Canadian
Government ownership mark
|
| B C B G A | British Columbia Brigade fo Garrison Artillery |
| B C P R | British Columbia Provisional Regiment of Garrison Artillery |
| C R I | Canadian Regiment of Infantry |
| D C | Dominion of Canada |
| H L I | |
| L C | Lower Canada |
| L C M | Lower Canada Militia |
| M D | Militia & Defense |
| M & D | Militia & Defense |
| NELLA | Nella Cutlery, maker of C7 bayonet |
| O R | Oxford Rifles |
| P E I | Prince Edward Island Regiment |
| P E I G A | Prince Edward Island Garrison Artillery |
| P W R | Prince of Wales Regiment |
| Q C B I | Queens County Battalion of Infantry |
| R C A F | Royal Canadian Air Force |
| R C N | Royal Canadian Navy |
| R C R | Royal Canadian |
| R R C I | Royal Canadian Regiment of Infantry |
| s | for Spencer rifle (found on elbow) |
| U C | Upper Canada |
| U C M | Upper Canada Militia |
| V M I | Volunteer Militia Infantry |
| V M R | Volunteer Militia Rifles |
| V R | Victoria Rifles |
![]() | Ross Factory inspection mark |
![]() | Quebec Arsenal inspection mark |
![]() | Long Branch |
![]() | Canadian Arsenals Ltd. |
| Canadian Arsenals Ltd. |
| 10/15 | Acceptance date (into service) |
![]() |
Cancellation mark |
![]() | Stevens-Savage (United States) |
![]() | Stevens-Savage (United States) |
![]() | Victory Plastics (U.S.-made Scabbards) |
| Marking | Meaning |
|---|---|
![]() | East India Co. ownership marking, Quartered Heart |
| (script) | Various Indian script letters for issue marks and numbers |
| R.F.I. | Rifle Factory Ishapore |
| F R 55 | Factory Repair, 1955 |
| J.U. | |
| M.I.L. | Metal Industries, Lahore |
| N.W.R. | North West Railways |
| S & R | Swinburn & Son (?) |
![]() | Bend test mark, proof |
| 1 41 | Date of manufacture, January 1941 |
![]() | Indian Government ownership marking, later version of E.I.G. mark |
![]() | East India Government ownership mark, pre-Great War |
![]() | Inspection mark, for East India Co. |
![]() | Inspection mark, for East India Co. |
![]() | Ishapore inspection mark |
![]() | Indian inspection mark |
| 12 / 14 | Conversion date, December 1914 |
| Marking | Meaning |
|---|---|
![]() | Ownership marking |
![]() | Ownership marking |
| Marking | Meaning |
|---|---|
| S.A. | South Africa |
| S.A.P. | South African Police |
| MAKERS S.A.R. & H | South African Railways and Harbors Dept. |
| A E Co | Manufacturer's initials |
![]() | Cape Government, South Africa |
![]() | Union of South Africa |
![]() | South Africa Defense Corps (current) |
| Marking | Meaning |
|---|---|
| G.S. | George Salter; maker |
| P.O.F. | Pakistan Ordnance Factory |
Some British bayonets have regimental markings stamped on the pommel (and
possibly elsewhere). These identify the regiment of the British Army to
which the bayonet was issued; when a bayonet was re-issued to a different
regiment, the original regimental markings were normally lined out like
this, and the new regimental markings were stamped near
the original ones.
To properly decode the regimental markings one needs to know what the abbreviations and letters stand for. The following list summarizes the regimental abbreviations as of 1881. Pre-1881 numbers are difficult to establish as to the date of change. Some regiments have the same number pre- and post-1881 but the majority have changed, i.e., pre-1881 20th Foot were East Devons; post-1881 20th Foot are Lancashire Fusiliers.
| Pre-1881 Mark | Regiment | Post-1881 Abbreviation |
|---|---|---|
| (none) | The Royal Garrison Artillery | R.G.A. |
| S. & M. | The Corps of Royal Engineers (Sappers & Miners) | R.E. |
| 1st Foot Gds. | The Grenadier Guards (The First Regiment of Guards) | G.G. |
| 2nd Foot Gds. | The Coldstream Guards (The Coldstream Regiment of Foot Guards) | C.G. |
| 3rd Foot Gds. | The Scot Guards (The Scots Fusilier Guards) | S.G. |
| (none) | The Irish Guards | I.G. |
| (none) | The Welch Guards | W.G. |
| 1st Foot | The Royal Scots (Lothian Regiment) | R.S. |
| 2nd Foot | The Queen's (Royal West Surrey Regiment) | W.SR. |
| 3rd Foot | The Buffs (East Kent Regiment) | E.K. |
| 4th Foot | The King's Own (Royal Lancaster Regiment) | LAN. |
| 5th Foot | The Northumberland Fusiliers | N.F. |
| 6th Foot | The Royal Warwickshire Regiment | WK. |
| 7th Foot | The Royal Fusiliers (The City of London Regiment) | R.F. |
| 8th Foot | The King's (Liverpool Regiment) | LI. |
| 9th Foot | The Norfolk Regiment | NK. |
| 10th Foot | The Lincolnshire Regiment | LIN. |
| 11th Foot | The Devonshire Regiment | DVN. |
| 12th Foot | The Suffolk Regiment | SK. |
| 13th Foot | Prince Albert's (Somerset Light Infantry) | ST. |
| 14th Foot | The Prince of Wales's Own (West Yorkshire Regiment) | W.Y. |
| 15th Foot | The East Yorkshire Regiment | E.Y. |
| 16th Foot | The Bedfordshire Regiment | BD. |
| 17th Foot | The Leicestershire Regiment | LEIC. |
| 18th Foot | The Royal Irish Regiment | R.I. |
| 19th Foot | Alexandra, Princess of Wales's Own (Yorkshire Regiment) | YK. |
| 20th Foot | The Lancashire Fusiliers | L.F. |
| 21st Foot | The Royal Scots Fusiliers | S.F. |
| 22nd Foot | The Cheshire Regiment | CH. |
| 23rd Foot | The Royal Welsh Fusiliers | W.F. |
| 24th Foot | The South Wales Borderers | S.W.B. |
| 25th Foot | The King's Own Scottish Borderers | K.O.S.B. |
| 26th Foot | The Cameronians (Scottish Rifles) | S.R. |
| 27th Foot | The Royal Inniskilling Fusiliers | IN.F. |
| 28th Foot | The Gloucestershire Regiment | G.R. |
| 29th Foot | The Worcestershire Regiment | W.R. |
| 30th Foot | The East Lancashire Regiment | E.L. |
| 31st Foot | The East Surrey Regiment | E.SR. |
| 32nd Foot | The Duke of Cornwall's Light Infantry | CLL. |
| 33rd Foot | The Duke of Wellington's (West Riding Regiment) | W.RID. |
| 34th Foot | The Border Regiment | B.R. |
| 35th Foot | The Royal Sussex Regiment | SX. |
| 36th Foot | The Worcestershire Regiment (2nd Battalion) | W.R. |
| 37th Foot | The Hampshire Regiment | HTS. |
| 38th Foot | The South Staffordshire Regiment | S.STF. |
| 39th Foot | The Dorsetshire Regiment | DT. |
| 40th Foot | The Prince of Wales's Volunteers (South Lancashire Regiment) | S.L. |
| 41st Foot | The Welch Regiment | WEL. |
| 42nd Foot | The Black Watch (Royal Highlanders) | R.H. |
| 43rd Foot | The Oxfordshire and Buckinghamshire Light Infantry | OX. |
| 44th Foot | The Essex Regiment | EX. |
| 45th Foot | The Sherwood Foresters (Nottinghamshire and Derbyshire Regiment) | DY. |
| 46th Foot | The Duke of Cornwall's Light Infantry (2nd Battalion) | CLL. |
| 47th Foot | The Loyal North Lancashire Regiment | N.L. |
| 48th Foot | The Northamptonshire Regiment | NN. |
| 49th Foot | Princess Charlotte of Wales's (Royal Berkshire Regiment) | BRK. |
| 50th Foot | The Queen's Own (Royal West Kent Regiment) | W.KT. |
| 51st Foot | The King's Own (Yorkshire Light Infantry) | Y.L.I. |
| 52nd Foot | The Oxfordshire and Buckinghamshire Light Infantry (2nd Battalion) | OX. |
| 53rd Foot | The King's Shropshire Light Infantry | SH. |
| 54th Foot | The Dorsetshire Regiment (2nd Battalion) | DT. |
| 55th Foot | The Border Regiment (2nd Battalion) | BR. |
| 56th Foot | The Essex Regiment (2nd Battalion) | EX. |
| 57th Foot | The Duke of Cambridge's Own (Middlesex Regiment) | MX. |
| 58th Foot | The Northamptonshire Regiment (2nd Battalion) | NN. |
| 59th Foot | The East Lancashire Regiment (2nd Battalion) | E.L. |
| 60th Foot | The King's Royal Rifle Corps | K.R.R. |
| 61st Foot | The Gloucestershire Regiment (2nd Battalion) | G.R. |
| 62nd Foot | The Duke of Edinburgh's (Wiltshire Regiment) | WTS. |
| 63rd Foot | The Manchester Regiment | MAN. |
| 64th Foot | The Prince of Wales's (North Staffordshire Regiment) | N.STF. |
| 65th Foot | The York and Lancaster Regiment | Y.&L. |
| 66th Foot | The Royal Berkshire Regiment (2nd Battalion) | BRK. |
| 67th Foot | The Hampshire Regiment (2nd Battalion) | HTS. |
| 68th Foot | The Durham Light Infantry | DM. |
| 69th Foot | The Welch Regiment (2nd Battalion) | WEL. |
| 70th Foot | The East Surrey Regiment (2nd Battalion) | E.SR. |
| 71st Foot | The Highland Light Infantry | H.L.I. |
| 72nd Foot | The Seaforth Highlanders (Ross-shire Buffs, The Duke of Albany) | SEA. |
| 73rd Foot | The Black Watch (The Royal Highlanders, 2nd Battalion) | R.H. |
| 74th Foot | The Highland Light Infantry (2nd Battalion) | H.L.I. |
| 75th Foot | The Gordon Highlanders | GOR. |
| 76th Foot | The Duke of Wellington's (West Riding Regiment) (2nd Battalion) | W.RID. |
| 77th Foot | The Middlesex Regiment (2nd Battalion) | MX. |
| 78th Foot | The Seaforth Highlanders (2nd Battalion) | SEA. |
| 79th Foot | The Queen's Own Cameron Highlanders | CAM. |
| 80th Foot | The South Staffordshire Regiment (2nd Battalion) | S.STF. |
| 81st Foot | The Loyal North Lancashire Regiment (2nd Battalion) | N.L. |
| 82nd Foot | The Prince of Wales's Volunteers (South Lancashire Regiment) (2nd Battalion) | S.L. |
| 83rd Foot | The Royal Irish Rifles (1st Battalion Royal Ulster Rifles) | R.I.R. |
| 84th Foot | The York and Lancaster Regiment (2nd Battalion) | Y.&L. |
| 85th Foot | The King's Shropshire Light Infantry (2nd Battalion) | S.H. |
| 86th Foot | The Royal Irish Rifles (2nd Battalion Royal Ulster Rifles) | R.I.R. |
| 87th Foot | Princess Victoria's (Royal Irish Fusiliers) | R.I.F. |
| 88th Foot | The Connaught Rangers | CT. |
| 89th Foot | Princess Victoria's (Royal Irish Fusiliers) (2nd Battalion) | R.I.F. |
| 90th Foot | The Cameronians (Scottish Rifles) (2nd Battalion) | S.R. |
| 91st Foot | Princess Louise's (Argyll and Sutherland Highlanders) | A.&S.H. |
| 92nd Foot | The Gordon Highlanders (2nd Battalion) | GOR. |
| 93rd Foot | Princess Louise's (Argyll and Sutherland Highlanders) (2nd Battalion) | A.&S.H. |
| 94th Foot | The Connaught Rangers (2nd Battalion) | CT. |
| 95th Foot | The Sherwood Foresters (2nd Battalion) | DY. |
| 96th Foot | The Manchester Regiment (2nd Battalion) | MAN. |
| 97th Foot | The Queen's Own (Royal West Kent) (2nd Battalion) | W.KT. |
| 98th Foot | The Prince of Wales's (North Staffordshire Regiment) (2nd Battalion) | N.STF. |
| 99th Foot | The Duke of Edinburgh's (Wiltshire Regiment) (2nd Battalion) | WTS. |
| 100th Foot | The Prince of Wales's Leinster Regiment (Royal Canadians) | LEIN. |
| 101st Foot | The Royal Munster Fusiliers (Royal Bengal Fusiliers) | M.F. |
| 102nd Foot | The Royal Dublin Fusiliers (Royal Madras Fusiliers) | D.F. |
| 103rd Foot | The Royal Dublin Fusiliers (The Royal Bombay Fusiliers) | D.F. |
| 104th Foot | The Royal Munster Fusiliers (Bengal Fusiliers) | M.F. |
| 105th Foot | The King's Own (Yorkshire Light Infantry) (2nd Battalion) (The Madras Light Infantry) | Y.L.I. |
| 106th Foot | The Durham Light Infantry (2nd Battalion) (Bombay Light Infantry) | DM. |
| 107th Foot | The Royal Sussex Regiment (2nd Battalion) (Bengal Infantry) | SX. |
| 108th Foot | The Royal Inniskilling Fusiliers (2nd Battalion) (Madras Infantry) | IN.F. |
| 109th Foot | The Prince of Wales's Leinster Regiment (Royal Canadians) (2nd Battalion) (Bombay Infantry) | LEIN. |
| (none) | 1st, 2nd, 3rd and 4th Battalion The Rifle Brigade (The Prince Consort's Own) | R.B. |
| L.T.C. | The Royal Army Service Corps (Land Transport Corps) | R.A.S.C. or A.S.C. |
| A.M.D. | The Royal Army Medical Corps (Army Medical Dept.) | R.A.M.C. or A.M.C. |
| A.C.D. | The Royal Army Ordnance Corps (Army Commisariat Dept.) | R.A.O.C. or A.O.C. |
| M.M.P. | Military Mounted Police |
| M.F.T. | Military Foot Police |
| R.M.C. | Royal Military College |
| R.M.A. | Royal Military Academy |
| S.M. | School of Musketry |
The regimental markings are normally (but not always) expressed in the following form:
decodes to the 42nd bayonet of the 3rd Company 1st Battalion of the Leinster Regiment.
Volunteer / Militia / Reserve markings are different, and are normally (but not always) in the following format:
For example,
decodes to the 3rd Company, 3rd Middlesex Rifle Volunteers. In this type of marking,
V = Volunteer
Y = Yeomanry
M = Militia
R = Reserve
The placement of these markings is indicated in the following table.
| Item | Location |
|---|---|
| triangular or socket bayonets | across the blade, close to the shoulder |
| sword bayonets | pommel, on the side away from the body when worn |
| scabbards | frog stud or top of the mouthpiece |
By way of illustration, below are the markings on 2 British bayonets in my collection, and my (probably partially incorrect) decoding of them:
Back to Old Military Markings home page